Выпускаются в различных модификациях и размерах с силой удержания до 55 кН на точку, режим обратного поддува давлением воздуха. Модули могут иметь индексное исполнение для установки модульных систем для обработки на 5х станках. Информация по модулям здесь.
Модули с установкой на фланец позволяют установить систему нулевого базирования практически на любой станок без переходных плит, что является самым универсальным решением на рынке на сегодняшний день.
Модули могут быть установлены с помощью щупов имеющихся на станках либо при их отсутствии непосредственно шпинделем станка с помощью специального адаптера. После выбора базового положения, модуль крепится к столу с помощью скоб в Т пазы или растровые отверстия.
| Артикул | Модель | Комплектация, шт | øD | øD1 | øD2 | H | M | Масса, г |
|---|---|---|---|---|---|---|---|---|
| 081101 | МП(Г)10.1 | 2 | 140 | 84 | 122 | 7.5 | 8.5 | 360 |
| 081201 | МП(Г)20.1 | 2 | 180 | 114 | 151.7 | 12.5 | 11 | 800 |
| 081401 | МП(Г)40.1 | 2 | 220 | 154 | 186 | 15.6 | 13 | 1100 |
Крепежные скобы могут быть выполнены под требования заказчика
Компания оставляет за собой право вносить любые технические изменения без предварительного предупреждения.
Подача гидравлического или воздушного давления к модулям может быть выполнена с помощью трубок либо гибких шлангов.
Использование данных модулей не ограничивает использование любых удлинителей и оснастки для систем нулевого базирования представленных на нашем сайте.
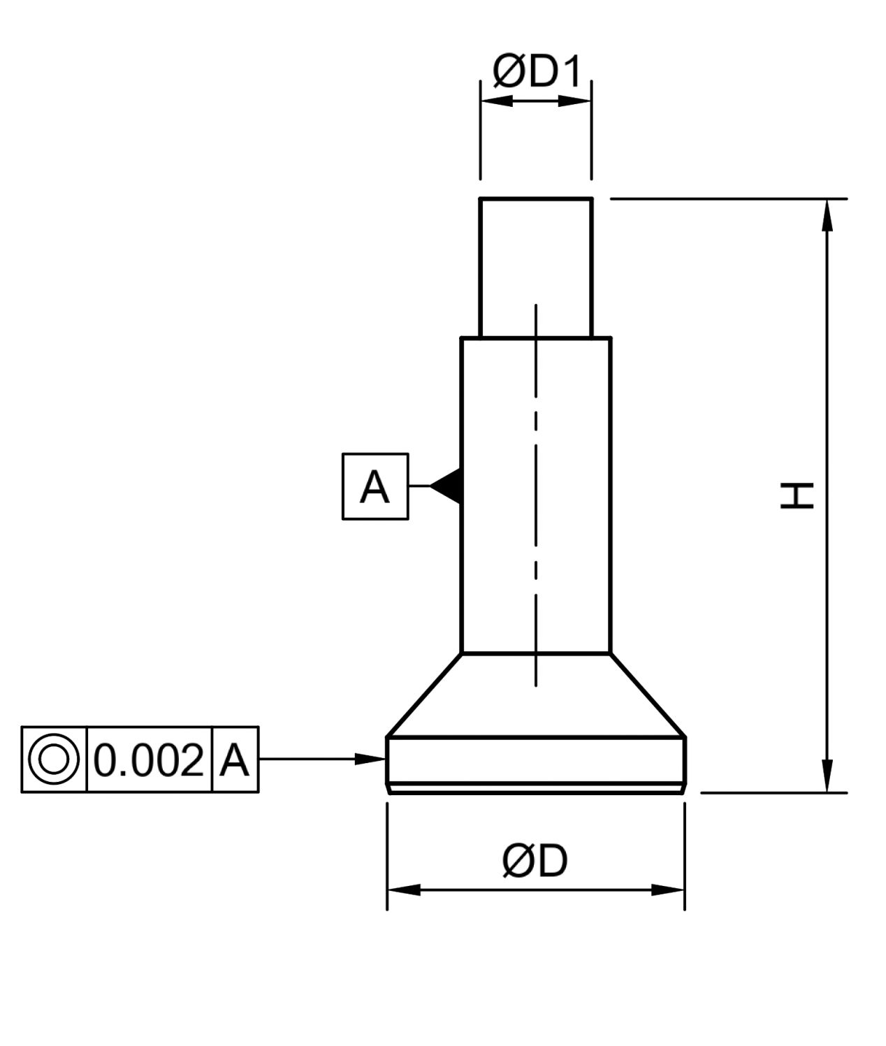
| Артикул | Модель | øD | øD1 | H | Масса, г |
|---|---|---|---|---|---|
| 082102 | МГ(П)10.2 | 22 | 12 | 48 | 85 |
| 082202 | МГ(П)20.2 | 32 | 16 | 64 | 225 |
| 082402 | МГ(П)40.2 | 40 | 20 | 82 | 455 |
Адаптер может быть выполнен под требования заказчика по диаметру или посадочному стандарту.
Компания оставляет за собой право вносить любые технические изменения без предварительного предупреждения.
Адаптер позволяет быстро и точно установить модули по площади станка и повторно после демонтажа в заданные ранее точки. Например в центр стола, при необходимости использования модуля для обработки заготовок или дополнительной оснастки.
Вставьте адаптер в патрон (шпиндель) станка
Подайте давление в модуль для открытия и вставьте в него адаптер. Замкните модуль, сняв давление в системе.
Определите шпинделем координаты где должен быть установлен модуль и опустите шпиндель так что бы модуль коснулся нижней поверхностью стола станка.
Закрепите положение модуля с помощью скоб на столе, откройте модуль, подав давление и извлеките адаптер из него. Повторите операцию для каждого модуля. Координаты установок желательно сохранить для повторной установки на стол.
Drag and Drop Website Builder